Після створення "розумного" одягу, компанія Samsung тепер планує створити квадрокоптер з великим дисплеєм, що вмітиме інтерпретувати жести, рухи очей та голосові команди людини.
Патент під назвою Flying display device подали 2016 року в США, та зареєстрували його лише через два роки, передає "Новое время".
ЧИТАЙТЕ ТАКОЖ: Створили унікальний дисплей-пластир
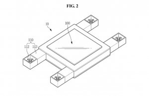
Дисплей займає більшу частину запатентованого квадрокоптера, як зазначили в компанії. В описі пристрою згадується можливість оснащення різними датчиками, в тому числі акселерометром, датчиком руху, GPS антеною, системою позиціонування у просторі, на основі Wi-Fi та гіроскопом. Пристрій зможе отримувати команди за допомогою технології розпізнавання голосу, повідомляє Сегодня.ua
У патенті також описаний "об'єднаний маніпулятор", що дозволить змінювати кут нахилу польоту та "блок виявлення перешкод", який допоможе автоматично уникати потенційного зіткнення з оточуючими об'єктами.
Samsung Galaxy S9+ оснастили екраном 6,2 дюйма. Оперативна пам'ять - 6 ГБ. Вбудована - 128 ГБ.





















Коментарі