Apple запатентовала технологию, которая защитит смартфоны от попадания внутрь пыли и влаги. Об этом сообщает издательство MACDIGGER.
Бюро патентов и торговых марок США в четверг обнародовало заявку Apple под названием "Электронное устройство с затворами внутри портов корпуса", в которой описывается технология защиты iPhone от воздействия воды.

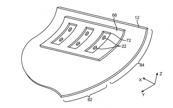
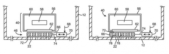
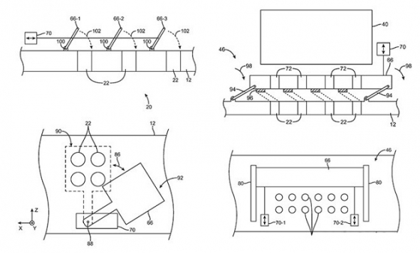
Согласно документу, внутри акустических модулей смартфона будут размещаться специальные механические шторки. Они будут располагаться непосредственно перед технологическими отверстиями гаджета (динамика, микрофона и т.д.), открываться и закрываться для ограничения доступа. Сейчас они защищены тонкой сеткой для предотвращения попадания посторонних предметов, которая однако не защищает устройства от попадания влаги и образования конденсата.
ЧИТАЙТЕ ТАКЖЕ: Стало известно, почему iPhone разряжаются очень быстро
Как только датчики iPhone зафиксируют присутствие жидкости, на механический затвор будет подан ток, в результате чего он перекроет доступ к внутренним компонентам смартфона. Сроки реализации запатентованных технологий не уточняются.


Это не первый патент Apple связанный с защитой iPhone от влаги. В начале месяца компания зарегистрировала патентную заявку под названием "Удаление воды из отверстий". В ней описан метод удаления жидкости из технологических отверстий мобильных устройств с помощью электрических разрядов. Компания предлагает наделить гидрофобными свойствами элементы динамиков и микрофонов путем изменения проведенного электрического разряда. В случае попадания влаги к проводящим элементам будет применен разряд.
Напомним, Компания Airbus получила патент на съемный пассажирский модуль самолета.
Комментарии