
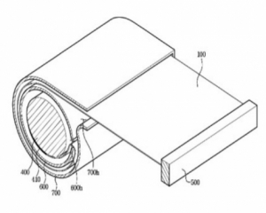
Компанія Samsung в Бюро з патентів і торговельних марок США запатентувала телевізор, який можна згорнути в рулон. Цю технологію можна використовувати для моніторів, ігрових та мультимедійних пристроїв.
Запатентована компанією технологія дозволить згорнути телевізор у рулон. Це допоможе звільнити місце в квартирі та значно полегшить переміщення пристрою. У Samsung відзначили, що як дисплей буде використано LCD-, LED- і OLED-панелі. Про це повідомляє thg.ru.
ЧИТАЙТЕ ТАКОЖ: Українці скуповують телевізори - дослідження
У патенті немає опису додаткових можливостей телевізора. Чи буде він автоматично згортатися чи розгортатися або чи матиме він "розумні" функції, поки що не відомо. Терміни реалізації цієї технології теж не оприлюднені.
Компанія Samsung планує випустити 2017 року смартфон, який може згинатися.
Коментарі