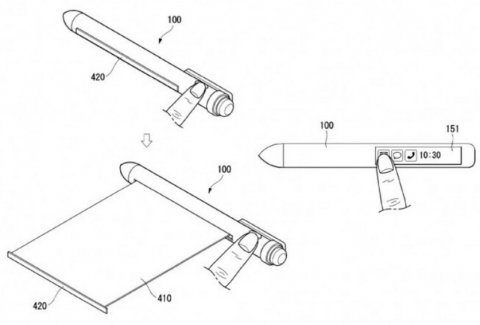
Компанія LG створила смартфон у вигляді ручки. Цей пристрій вона навіть запатентувала. Він оснащений відразу двома екранами, які працюватимуть настільки якісно як і в смартфона.

Про це повідомляє gizchina.com.
У смарт-ручки є кнопка на боці, яка при натисканні показує великий дисплей у рулоні. На ньому можна писати текстові повідомлення та переглядати фільм. У ручці є безліч датчиків, які можна знайти на будь-якому сучасному смартфоні.
ЧИТАЙТЕ ТАКОЖ: Samsung презентувала унікальний пристрій: особливості новинки
Пристрій матиме компас, гіроскоп, камеру і навіть сканер відбитків пальців. І звичайно ж ґаджет буде виконувати функцію ручки, тобто нею можна буде писати в цифровому вигляді на відповідному пристрої.
У травні найбільше купували iPhone 8. На другій сходинці рейтингу – Galaxy S9 +, повідомили в аналітичної компанії CounterPoint.
"iPhone X опинився лише на третьому місці. Далі у рейтингу Xiaomi Redmi 5A і iPhone 8 Plus", - кажуть в компанії.
Коментарі