Патент Apple пролил свет на новую систему снятия отпечатков пальцев, которые будут использовать в новых смартфонах iPhone.
Управление США по патентам и торговым маркам (USPTO) опубликовало очередной патент Apple на разработки в области мобильных устройств, сообщает 3D News.
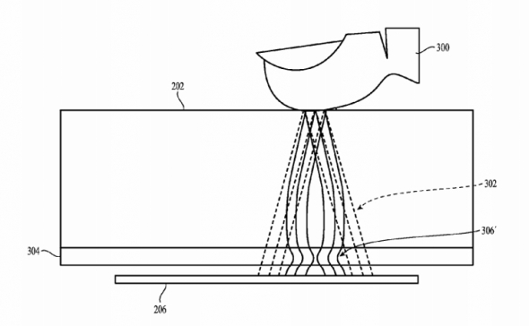
Документ от 4 октября 2016 года. Речь идет о емкостном сенсоре отпечатков пальцев, включающем электростатическую линзу (Capacitive Fingerprint Sensor Including an Electrostatic Lens).
Компания рассматривает возможность отказа от "домашней" кнопки на своих смартфонах. Поэтому интегрированный в нее дактилоскопический датчик планируют встроить непосредственно в дисплей. Новую систему сканирования отпечатков пальцев могут реализовать в аппаратах iPhone, выпуск ожидают в следующем году.
ЧИТАЙТЕ ТАКЖЕ: Apple обязали выплатить более $302 млн
Рыночные наблюдатели считают, что эти смартфоны получат корпус из закаленного стекла с металлическим каркасом. Вместо LTPS-панелей используют более яркие и энергоэффективные экраны на основе органических светодиодов (OLED).
Отказ от "домашней" кнопки позволит задействовать под сенсорный дисплей практически всю площадь фронтальной панели устройства.
Напомним, производитель гаджетов Apple выпустит iPhone без рамок вокруг дисплея. Смартфон получит название iPhone 8.























Комментарии